近日,有网友发现,包括四川水井坊股份有限公司、泸州老窖和古井贡酒在内的五家酒类企业都相继申请注册了新的商标。
而同一个行业短时间内爆出的集中注册商标事件,也是向外界渲染了酒企的商标战场正“硝烟弥漫”的讯息。
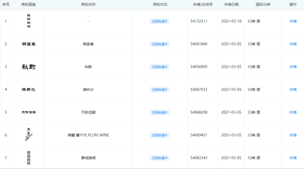
据企查查APP上的检索结果显示,四川水井坊股份有限公司于三月集中申请注册了包括“秋酌”、“满井水”、“天陈佳酿”在内的数个新的商标,而其新注册的商标国际分类也都是相同的33—酒类商标。

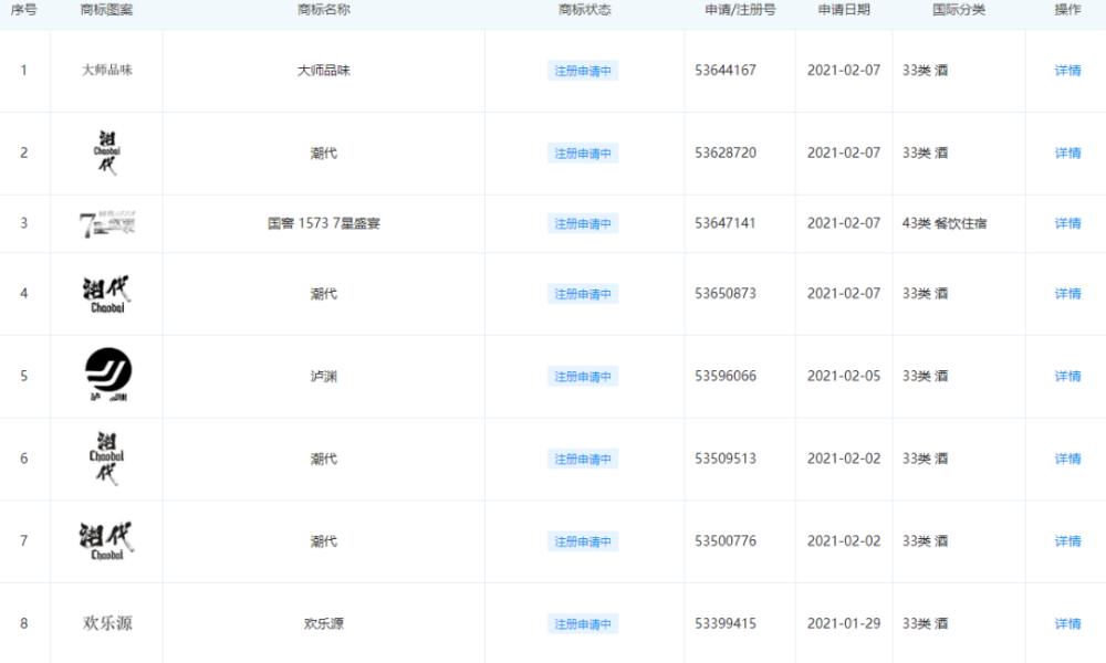
无独有偶, 通过企查查APP上可以看到,泸州老窖股份有限公司,也早已于1月开始,就陆续申请注册了包括“潮代”、“泸渊”、“大师品味”在内的多个国际分类同样为33—酒类的商标。

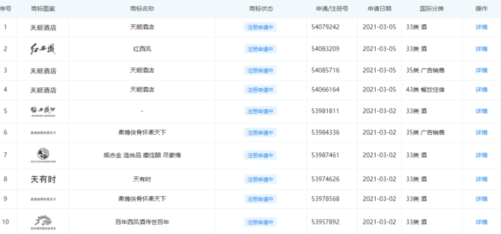
除了这两家酒企外,还有古酒贡酒再次申请的“上海滩”商标;陕西西凤酒股份有限公司申请的“红西凤”、“百年西凤酒传世百年”和“天有时”商标等。

而对于这次酒企申请商标的集中与“扎堆”情况,白酒营销专家晋育峰也是向北京商报的记者表示,“酒企看中商标注册申请很正常,一方面商标是企业的无形资产,另一方面酒企需要文化营销,打造品牌IP,因此必须要储备一定量的商标。这不仅可以保护既有品牌资产,还有利于延伸和开发新的品牌资产。”
而在商标权的争夺上面,也是不停的有酒企之间侵权案例的曝光。
经历两级法院、四次审理的国窖赣酒公司诉争赣酒酒业公司侵害其注册商标权及不正当竞争纠纷的案件也终于尘埃落定。
前有“赣酒”之争,后有洛阳杜康和白水杜康关于“杜康商标”的“陕豫之争”,酒企对于商标权的重视程度也是可见一斑。
其实,类似的商标抢注行为与关于“商标权”而对簿公堂的事件如今已是屡见不鲜。可以看出,各行各业对于商标的重视程度都在逐步提高。
而这一切,都是源于商标带来的价值。
对于品牌经营,注册商标传递与创办人、公司、产品与服务相关的,无形且具备情感的讯息给消费者。
在市场的竞争中,商标具有吸引消费者目光的功能性,可以让你的产品与服务出类拔萃。而从购买消费的角度看,注册商标也是驱动消费者作出购买决策的关键因子。 另外,随着时间的推移。商标将更加具有价值。有时,相较于企业核心竞争力而言,注册商标可以更好地彰显企业的价值。
注册商标作为一种智能财产,它与有形财产一样,都是可以被买卖,转让,授权或者作为担保权益来融资的。所以酒企关于商标的“激烈竞争”,也就不足为奇了。